蓝光有益波段
蓝光分波段,有些有害,有些有益。
蓝光有害波段:385≤ λ<415(有害程度比较大)
蓝光有害波段:415≤ λ<445(有害程度稍微大)
蓝光有益波段:445≤ λ<475(对人体有益)
蓝光有益波段:475≤ λ<505(对人体有益)
因此国家标准GB/T 38120 对上诉波段的蓝光做出了规范,指定它们的透射比。
我司能够检测蓝光的透射比,鉴定产品的透射能力,具有CNAS CMA授权,检测报告加盖CNAS CMA章。
下面我们根据GB/T 38120简单讲讲相关的测试过程。
一,产品范围:只要是具有防蓝光作用的膜层和材料,都可以检测。具体如下:
本标准规定了应用于光学镜片产品、显示产品、照明产品及皮肤防护产品的蓝光防护膜的分类、要求、测试方法。
本标准适用于在光学镜片产品、显示产品、照明产品上使用的具有蓝光防护功能的膜层和材料,附着在光学镜片产品、显示产品、照明产品上的具有蓝光防护功能的膜层和材料,以及针对皮肤蓝光防护的生物膜层和材料(包括剂型、原料等)。
二,名词定义,什么是透射比
透射比:穿透过防护膜或镜片之后的光,比上穿透过防护膜或镜片之前的光。结果以百分数体现。
三,GB/T 38120 对蓝光透射比的要求/限值,见下表
光谱范围λ/nm | 光透射比要求 |
385≤ λ<415 | <75% |
415≤ λ<445 | <80% |
445≤ λ<475 | >80% |
475≤ λ<505 | >80% |
四,检测方法:光谱仪法
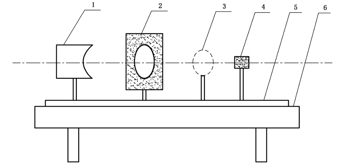
光谱透过率测量装置组成结构参考示意图如下所示,主要由光学实验平台、光轨、光学镜片支架光阑、紫外、可见光谱仪组成。

1--光源,2—光阑,3—镜片,4—光谱探测器,5—光学轨道,6—光学平台
五,检测结果(举例)


返回顶部